• 公称压力:PN1.6、2.5、4.0、6.4Mpa
• 强度试验压力:PT2.4、3.8、6.0、9.6MPa
• 低压气密封试验压力:0.6MPa
• 温度:-29℃~150℃
全国服务热线: 4000-997-698 | 021-59974163
在线咨询性能规范
• 公称压力:PN1.6、2.5、4.0、6.4Mpa
• 强度试验压力:PT2.4、3.8、6.0、9.6MPa
• 低压气密封试验压力:0.6MPa
• 温度:-29℃~150℃
• 适用介质:
Q11F-(16-64)C 水、油品、气
Q11F-(16-64)P 硝酸类
Q11F-(16-64)R 醋酸类
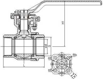
产品结构


主要零件材料
材料名称 | Q11F-(16-64)C | Q11F-(16-64)P | Q11F-(16-64)R |
阀体 | WCB | ZG1Cr18Ni9Ti | ZG1Cd8Nr12Mo2Ti |
阀盖 | WCB | ZG1Cr18Ni9Ti | ZG1Cr18Ni12Mo2Ti |
球体 | ICr18Ni9Ti | ICr18Ni9Ti | 1Cr18Ni12Mo2Ti |
阀杆 | ICr18Ni9Ti | ICr18Ni9Ti | 1Cr18Ni12Mo2Ti |
密封圈 | 聚四氟乙烯(PTFE) | ||
填料 | 聚四氟乙烯(PTFE) | ||
主要外形尺寸
DN | INCH | L | L1 | D | G | W | H | H1 | E | F | TXT |
8 | 1/4″ | 55 | 13 | 11 | 1/4″ | 95 | 48.5 | ||||
10 | 3/8″ | 60 | 13 | 11.5 | 3/8″ | 95 | 48.5 | ||||
15 | 1/2″ | 63 | 13.5 | 15 | 1/2″ | 105 | 54 | 75 | 36 | 42 | 9X9 |
20 | 3/4″ | 73 | 15 | 19.5 | 3/4” | 120 | 65.5 | 81 | 36 | 42 | 9X9 |
25 | 1″ | 84 | 17 | 25 | 1″ | 140 | 72 | 91.5 | 42 | 50 | 11X11 |
32 | 1 1/4″ | 98 | 20 | 32 | 1 1/4″ | 150 | 81 | 100.5 | 42 | 50 | 11X11 |
40 | 1 1/2″ | 105.5 | 21 | 38 | 1 1/2″ | 170 | 96 | 118.5 | 50 | 70 | 14X14 |
50 | 2″ | 120.5 | 23 | 49 | 2″ | 185 | 105 | 125.5 | 50 | 70 | 14X14 |
65 | 2 1/2″ | 152 | 28 | 64 | 2 1/2″ | 220 | 125 | ||||
80 | 3″ | 170.5 | 30 | 77 | 3″ | 270 | 134.5 | ||||
100 | 4″ | 204 | 36 | 99 | 4″ | 315 | 157 |




沪公网安备31011402010645